DIN PN 16 Cast Iron angle globe valve

DIN PN 16 Cast Iron angle globe valve,

For water,oil...



DIN PN 16 Cast Iron angle globe valve

Angle globe valves belong to forced sealing valves, so when the valve is closed, pressure must be applied to the disc to force the sealing surface not to leak.When the medium from the lower valve disc into valve 6, the operating force to overcome the resistance, is the friction force of the valve stem and packing and the thrust generated by the pressure of the medium, the force of the valve is larger than the force of the valve open, so the diameter of the valve stem to be large, otherwise the valve stem bending fault will occur.From the appearance of the sealed valve, the flow of the globe valve media will be changed from the upper disc into the valve chamber, then under the action of media pressure, the force to close the valve is small, and the force to open the valve is large, the diameter of the valve stem can be reduced accordingly.At the same time, under the action of the medium, this form of the valve is more rigorous.China's valve "three to" has been stipulated that the flow of the globe valve, all adopt from top to bottom.


Appilcation
Design:DIN3356
Face to face:DIN3202 F1
Flange:EN 1092-2 PN16
Seat Test Pressure:17.6bar
Shell Test Pressure:24bar

Features
Outside acrew an yoke
Clockwise closing direction
Product color:Blue RAL5017

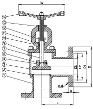
Main Parts and Materials
Item Parts Name Material
1 Body GG25
2
Seat Ring
Stainless Steel
 Brass
3
Disc Ring
Stainless Steel
Brass
4 Disc GG25
7 Stem SS AISI420
9 Bonnet Gasket Graphite With Soft Steel
10 Bonnet GG25
11 Packing Graphite


                                   


Main Dimensions
DN L D D1 D2 b n-d H W
15 90 95 65 45 14 4-14 200 120
20 95 105 75 58 16 4-14 220 120
25 100 115 85 68 16 4-14 225 120
40 115 150 110 88 18 4-18 270 160
50 125 165 125 102 20 4-18 270 200
65 145 185 145 122 20 4-18 320 200
80 155 200 160 138 22 8-18 365 200
100 175 220 180 158 24 8-18 460 240
150 225 285 240 212 26 8-22 525 280
200 275 340 295 268 30 12-22 685 360
250 325 405 355 320 32 12-26 830 400
300 375 460 410 378 32 12-26 925 450

Packing & Delivery :

Packing Details : all by seaworthy plywood case and packed strongly by  packing belt as below

Delivery Details : Generally it is 5-10 days if the goods are in stock. or 15-30 days if the goods are OEM or not enough

subject to the order quantity. But anyway,normally, we are able to make sure the delivery will not exceed 45 days.



Product Tags globe valve valves          globe valves          valve globe          globe valve          ball valve and globe valve          globe valve control valve          ball valve globe valve          globe valve and ball valve          globe valve ball valve         

INQUIRY

Contact us for all information about the product


click here to leave a message

leave a message
If you are interested in our products and want to know more details,please leave a message here,we will reply you as soon as we can.