Jaminnar Shear Blades for Cutting All Kinds of Sheet Metals

Shearing blades are the core component of the shearing machine, used on the shearing machine for cutting the sheet metal.

There are blades for your reference: 1100*80*20mm, 1300*80*20mm, 1100*100*25mm, 1300*100*30mm, 3100*100*30mm and others.

the blades material are: Cr12MoV 、H13K、H13、6CrW2Si、9CrSi,etc.

hardness: HRC52-60.



Jaminnar is in the field of sheet metal processing, and is engaged in the production and sale of bending tools and crowning tables. Jaminnar can supply punches and dies for any type of press brake. These tools are made of hardened and ground high quality steels C45 and 42CrMo. Our product range includes tool types such as: Amada / promecam european, Trumpf / Wila, Bystronic/Beyeler, LVD type, EHT type, American type, Gasparini Type, Colgar Type,Colly Type,Ajial-Axial Type, Hämmerle-bystronic Type, Special tools, Shear blades, Crowning Table, Rolla-V, Adjustable Die, Custom Rotary Dies, Clamping system, Tools Storage Cabinets, Protective Traceless Film, etc.  Jaminnar has two in-house R&D department specializing in designing technologically advanced solutions and focuses on innovative solutions, with the support of our technical department we are able to design and supply special punches and dies and research the right solution for your bending project.  The tools - our company supplies for press brakes are efficient and durable, thanks to the ability to use cutting-edge technology and uses advanced equipment for production with Implement strict quality control and the guarantee of highly qualified employees. Our molds undergo rigorous testing to ensure stability and durability; Reliability and competitive pricing are two other distinguishing features of our bending tools.


Advantages

For your shear we produce shear blades according to your specifications. The raw material of the blades is selected especially for the use and the material that have to be cut.

 

INFORMATION

 JM - Shear machine blades Ⅲ

 

Tooling system

JM - System Shear Blades

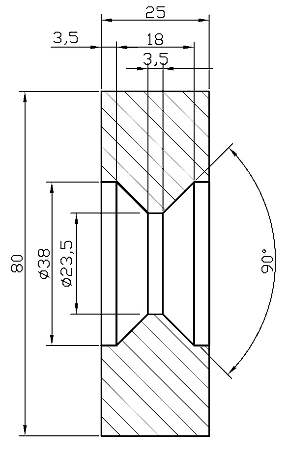
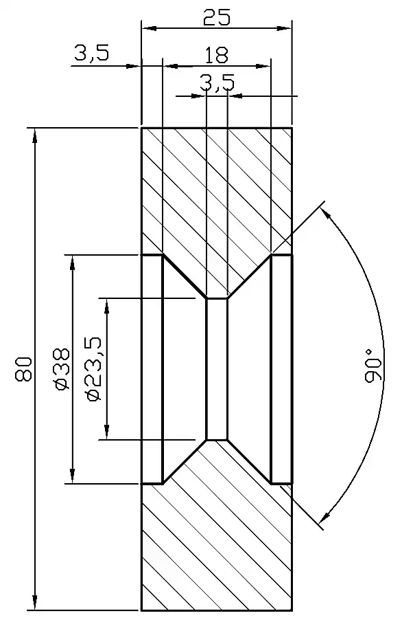
Angle

82°、90° or customized according to require

Diameter

Customized according to require

Height

Customized according to require

Material

H13K、H13、Cr12MoV、9CrSi、6CrW2Si

Other Information 1

 

Other Information 1

 

 

Quality And Precision

Optimum materials

H13K、Cr12MoV、9CrSi、6CrW2Si

Bending Radius/Intake Radius Hardens to 47 – 65 HRC

Precision ground

Guaranteed exchangeability and parallelism

Tool marking with all technical information

With threaded hole or double sided countersink

 

TOOL LENGTHS

 

Shear machine blades

4200 mm

 

 

500 mm

 

 

835 mm sectionalized

 9 Segments with horn extension left and right

 Sectionalized punches/top-tools are delivered as a complete set

Upper punch: 100 (left horn) 10, 15, 20, 40, 50, 200, 300, 100 (right horn) = 835mm (set)

 In addition to the above standard length, if you need to customize a special length, please explain.

 

 

 

FAQ

1. Q: Are you a factory or trading company? How is you factory production experience?

    A: We are a factory. 23years Manufacturing experience. Leading supplier in Maanshan city.

2. Q: Can you put my brand logo on these products?

    A: Yes, we can.

3. Q: What is the Minimum Order Quantity (MOQ) for your OEM service?

    A: MOQ is 1pcs. Purchase amount not less than $50.

4. Q: When can you ship the products after we make payment?

    A: Production time is normally 15-25 days.

5. Q: What materials and processing techniques are used for press brake tooling?

    A: Material: 42CrMo4; Full body heat treatment HRC 44-50, CNC laser quenching HRC: 54-60; Surface treatment: silver, black coating or sandblasting

6. Q: How long is the warranty period for your products?

    A: Under normal use, the warranty period is 1 year.

7. Q: What payment methods do you support?  

    A: T/T, Western Union, WeChat etc.

 

 

 

 

 


Product Tags guillotine shearing blades          Shear machine blades          guillotine shear machine blade          guillotine shear cutter          guillotine shearing knives          industrial metal cutting shear blade         

INQUIRY

Contact us for all information about the product


click here to leave a message

leave a message
If you are interested in our products and want to know more details,please leave a message here,we will reply you as soon as we can.